Ikego Project - Fall 2024 Co-op

OBJECTIVE

Create an Open and Modular design to contribute to the ikego Project

CIRCULAR SUSTAINABILITY

is a system that emphasizes reuse to minimize waste throughout sourcing, manufacturing, and consumption. This approach limits waste and fosters a more sustainable lifecycle for products.

MODULAR FURNITURE

Helps promote circular sustainability because it prioritizes re-using materials, it reduces the need for new resources, decreases production demands, and promotes reuse over disposal.

OPEN DESIGN

Contributes to this by allowing anyone to contribute designs to the project and use other people’s designs to create their own products. The collaborative style helps make this idea work!

PRODUCT IDEATION

Focus on how one part can be used to develop new products.

CUSHION IDEATION

TECH PACK

PART DEVELOPMENT

Large Fabric Cover

  • Material : Soft

    Dimension : 40×40×10 cm

    Material Tolerance : Standard Tolerance

    IPP 1.0

Board 1

Board 2

Board 3

Board 4

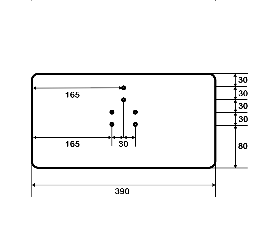
  • Material : Stiff

    Dimension : 39×39×1.5 cm - Holes 6mm

    Material Tolerance : Standard Tolerance

    IPP 1.0

Medium Fabric Cover

  • Material : Soft

    Dimension : 40×30×10 cm

    Material Tolerance : Standard Tolerance

    IPP 1.0

  • Material : Stiff

    Dimension : 39×39×1.5 cm - Holes 6mm

    Material Tolerance : Standard Tolerance

    IPP 1.0

Small Fabric Cover

  • Material : Soft

    Dimension : 40×20×10 cm

    Material Tolerance : Standard Tolerance

    IPP 1.0

  • Material : Stiff

    Dimension : 39×20×1.5 cm - Holes 6mm

    Material Tolerance : Standard Tolerance

    IPP 1.0

Foam

  • Material : Soft

    Dimension : 40×40×5

    Material Tolerance : Standard Tolerance

    Open : Off the shelf

  • Material : Stiff

    Dimension : 39×20×1.5 cm - Holes 6mm

    Material Tolerance : Standard Tolerance

    IPP 1.0

INFINITE MATTRESS

This mattress, made from Ikego cushions, offers complete adjustability. Perfect for temporary mattress needs of any size, an extendable play space, or a bench cover! Easily store it by untying the cushions.

PARTS

SWAY

Sway is a lightweight and multipurpose backpack. Designed for simple use, this bag features one main compartment with an interior pocket. It’s also completely collapsible and washable. You can customize the fabric and straps to make this design uniquely yours!

PARTS

CHIYO BAG

Chiyo is a lightweight, mid-sized shoulder bag. You can easily adjust the strap length to your preferred fit. This bag is also completely collapsible and washable. Feel free to customize the fabric and straps for this design!

PARTS

  • Fabric Cover (Small)

HANGING STORAGE

Drop Wall Storage provides compact storage solutions by utilizing wall space! Use it in any area of your home or workplace. Hang the bag using the loops on the back with a bar or hooks. Feel free to customize the fabric to best suit your needs.

HALE STOOL

Hale stool is a customizable stool design. The optional cushion for this design helps improve comfort and posture. Use elephant rods to adjust height and color on this stool so it fits seamlessly anywhere in your home!

COLLABORATIVE CHAIR PROJECT

The collaborative part of this internship introduced the multi-part. Its introduction has unlocked many possibilities for simple modular design with a mor minimal look. Explore the initial range of modular products below and see how this functional piece constantly reassembles!

Collaboration with Lars Zimmerman - See more at ikego

PARTS USED BELOW

  • Cushion 40x40x10

  • Cushion 40x20x10

  • Board 1

  • Board 3

  • Board 4

  • Board 5

ULITIMATE
Home
LAZY LOUNGE